
Art.Nr.: N-4502401024
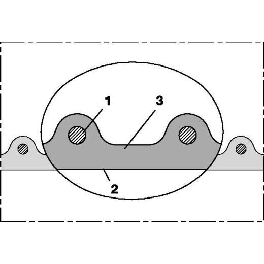
Anwendungen: flexibler Schlauch für hohen Durchsatz an abrasivem Pulver, Schüttgut, Granulat und für Gase, Förderung von trockene und gefrorenen Lebensmittel und Pharmazeutika, Vakuum- und Saugförderer, Dosiersystem, Tablettenpresse, Mischer, Trockner, Verpackungsmaschine, Big-Bag Befüllung/Entleerung, Mühle, Industrie- und Staubsauger, explosionsgefährdeter Bereich, Tierstall: Futtermittelförderung, -anlage und -transport Eigenschaften: schwere Ausführung, hoch abriebfest, erhöhte Druck- und Vakuumfestigkeit, Zulassung nach EU-Verordnung 10/2011 sowie EG 1935/2004 und der neuesten EU-Verordnung 2015/174 durch ein unabhängiges Prüfinstitut für den gesamten Schlauch, Polyurethan lebensmittelecht nach: FDA 21 CFR 177.2600, geruchs- und geschmacksfrei, mikroben- und hydrolysefest, gute Öl-, Benzin- und Chemikalienbeständigkeit, sehr gute Kälteflexibilität, Wandung permanent antistatisch: Durchgangswiderstand und Oberflächenwiderstand Konstruktion: 1. in der Wandung fest eingegossener Federstahldraht, Spirale: Edelstahldraht (INOX), 2. Wandung: permanent-antistatisches Premium Ether-Polyurethan (Pre-PUR ® ), 3. Wandstärke 1,4 - 1,5mm Temperaturbereich: -40 °C bis +90 °C Liefervarianten: weitere Ausführungen, Abmessungen und Längen auf Anfrage lieferbar
Weitere technische Eigenschaften
· Aggregatzustand: Fest / Gasförmig · Betriebsdruck: 1.93bar · Absaug- · u.Förderschl.AIRDUC® · PUR-INOX 355 FOOD-AS ID · Wandst.5mm Rl.NORRES ·
Technische Daten
| Wandstärke | 5 mm |
| Außen-Ø | 70,00 mm |
| Unterdruck | 0,625 bar |
| Biegeradius | 40,00 mm |
| Überdruck | 1,930 bar |
| Gewicht | 0,78 kg/m |
| Länge | 10 m |
| Marke | NORRES |
| Temperaturbereich | ca. -40 bis ca. +90, kurzzeitig bis ca. +125 °C |
| Innen-Ø (Zoll) | 2 3/8 ? |
| Anwendungszweck | Absaug- und Gebläse- und Förderschlauch / Abrasive Medien / Lebensmittelschlauch |
| Innen-Ø | 60 mm |
Norres Schlauchtechnik GmbH · Am Stadthafen 12-18 · 45881 Gelsenkirchen · Deutschland · info@norres-baggerman.com
UVP 619,24 EUR
YOUR_PRICE603,90 EUR
zzgl. 19 % MwSt. zzgl. Versandkosten
60,39 EUR pro