
Art.Nr.: N-4000603303
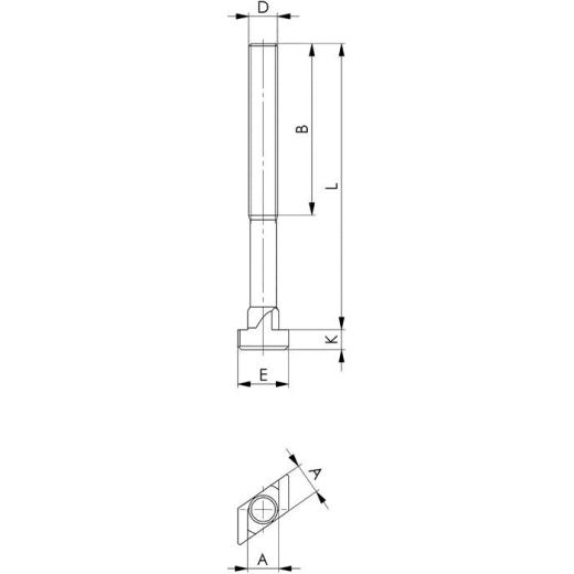
für T-Nuten · geschmiedet · T-Nutenführung gefräst · gerolltes Gewinde · vergütet auf Festigkeitsklasse 8.8 · durch die verringerte Auflagefläche in der T-Nute ist die Belastbarkeit geringer als bei den vergleichbaren Größen DIN 787 · die Spannschraube wird nachträglich, auf einem bereits eingerichteten Maschinentisch, von oben in die T-Nut eingesetzt
Weitere technische Eigenschaften
· A: 13,7mm · D: M12 · Qualität: Güteklasse 8.8 · L: 125mm · B: 75mm · K: 8mm · E: 22mm · Rhombusschraube Nr.797 · T-Nut 14mm M12 L.125mm · Güte 8.8 AMF ·
Technische Daten
| T-Nut | 14 mm |
| Länge | 125 mm |
| Gewinde | M12 |
| Marke | AMF |
Andreas Maier GmbH & Co. KG Schloss- u. Werkzeugfabrik · Waiblinger Str. 116 · 70734 Fellbach · Deutschland · amf@amf.de
UVP 55,38 EUR
YOUR_PRICE35,90 EUR
zzgl. 19 % MwSt. zzgl. Versandkosten