
Art.Nr.: N-4000833525
für Verschlussspanner Nr. 6847 · verzinkt und passiviert · einsatzgehärtete Buchsen · Niete aus nicht rostendem Stahl
Weitere technische Eigenschaften
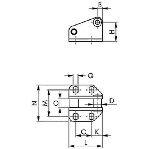
· Länge: 55mm · C: 29mm · D: 15mm · G: 11,2mm · L: 55mm · O: 13,8mm · B: 12mm · K: 13mm · M: 56,5-64mm · Höhe: 61mm · H: 49,1mm · N: 86mm · Gegenhalter Nr.6847G Gr.5 · verz.AMF ·
Technische Daten
| Größe | 5 |
| Marke | AMF |
| Material | verzinkt |
Andreas Maier GmbH & Co. KG Schloss- u. Werkzeugfabrik · Waiblinger Str. 116 · 70734 Fellbach · Deutschland · amf@amf.de
UVP 43,61 EUR
YOUR_PRICE24,90 EUR
zzgl. 19 % MwSt. zzgl. Versandkosten