
Art.Nr.: N-4000833173
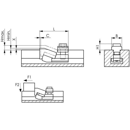
vergütet und im Brünierton angelassen · mit dem Flachspanner können besonders niedrige Werkstücke gespannt werden · durch die Keilwirkung wird das Werkstück fest und sicher auf den Maschinentisch gedrückt
Weitere technische Eigenschaften
· b: 25mm · l: 68mm · h: max. 17,0 mm / min. 2,5 mm · Flachspanner · Mini-Bulle,Nr.6492 T-Nut · 16mm AMF · h = bei maximaler T-Nutentiefe nach DIN 650. Zur Erreichung niedriger Spannhöhen bei minimaler Nutentiefe kann das Spannstück abgeschliffen werden. Lieferung mit Befestigungsschrauben ISO 4762 (8.8) und Sechskantschraubendreher ISO 2936 ·
Lieferumfang
nur paarweise lieferbarTechnische Daten
| T-Nut | 16 mm |
| Marke | AMF |
Andreas Maier GmbH & Co. KG Schloss- u. Werkzeugfabrik · Waiblinger Str. 116 · 70734 Fellbach · Deutschland · amf@amf.de
UVP 201,60 EUR
YOUR_PRICE124,90 EUR
zzgl. 19 % MwSt. zzgl. Versandkosten