
Art.Nr.: N-8000481053
Absauganlage · Entstaubungsanlage · Filteranlage · Ölnebelabsaugung Absaugarm explosionsgefährdeter Bereich flexibler Schlauch für Gase und für abrasive Stäube · Pulver · Fasern Heizschlauch: Außenschlauch als Schutzschlauch Oberflächenbearbeitung: Kugelstrahlmittel/ Sandstrahlmittel Rückführung z.B. an Strahlkabine · Schiffswerft · Stripper · Boden-Fräse · Schleifmaschine Reinraumbelüftung · Halbleiterfertigungsmaschine Tierstall: Belüftung Textilindustrie · Faserabsaugung: Spinnmaschine · Strickmaschine · Webmaschine Holzstaubabsaugung Holzstaub Holzspäne Holzbearbeitungsmaschinen Halbleiterfertigung Heizschlauch Absaugschlauch Außenschlauch Kantenbearbeitungsmaschinen Kugelstrahlmittel Kabelschutzschlauch Leiterplatten-Bohrmaschinen (PCB) Luftschlauch Möbelproduktion Medizingeräte Medizintechnik Parkettschleifmaschinen Plattensägen Reinraumbelüftung Reinraumindustrie Spinnmaschinen Strickmaschinen Sägen Sägewerke Belüftung Sandstrahlmittel Strahlkabinen Schiffswerften Schutzschlauch Textilindustrie Tierställe Webmaschinen Absauganlagen Absaugarme CNC-Maschinen CNC-Bearbeitungszentren Computer Chip Produktion Entstaubungsanlagen Filteranlagen Faserabsaugung Gesundheitswesen PROTAPE -40°C bis +90°C (+125°C) antistatisch < 10? O hoch abriebfester Saugschlauch + Druckschlauch · Mehrzweckschlauch + Universalschlauch Wandstärke ca. 0,7 mm kundenspez. Sonderaufdruck schwarz (Standard) Sonderfarben: teileingefärbt · voll eingefärbt weitere Abmessungen und Längen auf Anfrage lieferbar patentierter PROTAPE® Folienschlauch Wandung: permanent-antistatisches Premium Ester-Polyurethan (Pre-PUR®) in der Wandung eingebetteter Federstahldraht Wandstärke ca. 0,6 mm
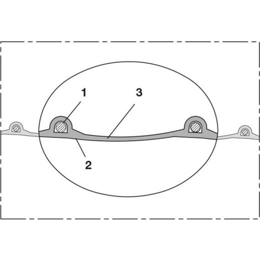
Weitere technische Eigenschaften
· Biegeradius: 33,00mm · Aggregatzustand: Gasförmig · ÜberdruckDIN 26057(50% Dehnung)(bar): 0,820 (2,12) · UnterdruckDIN 26057(Axial fixiert)(bar): 0,220 (0,87) · PU-Schlauch ID 50-51mm AD · 58,00mm 4mm L.10m NORRES ·
Technische Daten
| Innen-Ø | 50-51 mm |
| Außen-Ø | 58,00 mm |
| Wandstärke | 4 mm |
| Betriebsdruck | 0.82 bar |
| Unterdruck | 0,220 bar |
| Gewicht | 0,37 kg/m |
| Länge | 10 m |
| Tiefsttemperatur | -40 °C |
| Höchsttemperatur | 90 °C |
| Marke | NORRES |
| Anwendungszweck | Absaug- und Gebläse- und Förderschlauch / Abrasive Medien |
Norres Schlauchtechnik GmbH · Am Stadthafen 12-18 · 45881 Gelsenkirchen · Deutschland · info@norres-baggerman.com
UVP 283,95 EUR
YOUR_PRICE196,90 EUR
zzgl. 19 % MwSt. zzgl. Versandkosten
19,69 EUR pro