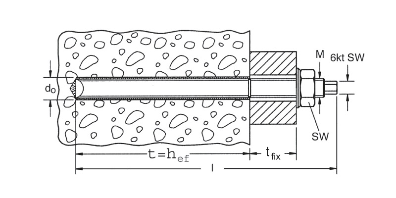
fischer Ankerstange RG M 10 x 130
Die Ankerstange RG M ist in Verbindung mit den verschiedenen fischer Reaktionspatronen und Injektionsmörteln für unterschiedliche Baustoffe zugelassen bzw. geeignet. Bitte klicken Sie für weitere Informationen.
Ausführung- Galvanisch verzinkter Stahl 5.8
Anwendungen- Zugelassene Verankerungen mit Reaktionspatronen RSB und RM II
- Zugelassene Verankerungen mit Injektionsmörteln FIS SB, FIS EM, FIS EB, FIS V, FIS VL, FIS Green und FIS P Plus
Baustoffe
- In Verbindung mit den fischer Reaktionspatronen für gerissenenen wie auch ungerissenen Beton zugelassen bzw. geeignet.
- In Verbindung mit den verschiedenen fischer Injektionsmörteln für unterschiedliche Baustoffe zugelassen bzw. geeignet.
Zulassung- ETA-02/0024, ETAG 001-5, ETA-20/0603, DoP 0188, DoP No. 0007, DoP No. 0072, DoP No. 0094
Technische Daten

| Zulassung | ETA | ja |
| Gewinde | M | M 10 |
| Dübellänge | L | 130 | [mm] |
Angaben zur Produktsicherheit - Hier klicken für mehr Infos
fischer Deutschland Vertriebs GmbH · Klaus-Fischer-Straße 1 · 72178 Waldachtal · Deutschland · info@fischer.de
Diesen Artikel haben wir am 27.10.2015 in unseren Katalog aufgenommen.