Förderschl.AIRDUC® PUR-INOX 355 FOOD-AS ID 50-51mm AD 60mm L.5m Wandst.5mm Rl. | 5 Stück

Förderschl.AIRDUC® PUR-INOX 355 FOOD-AS ID 50-51mm AD 60mm L.5m Wandst.5mm Rl. | 5 Stück
Für eine größere Ansicht klicken Sie auf das Vorschaubild
Förderschl.AIRDUC® PUR-INOX 355 FOOD-AS ID 50-51mm AD 60mm L.5m Wandst.5mm Rl. | 5 Stück
Förderschl.AIRDUC® PUR-INOX 355 FOOD-AS ID 50-51mm AD 60mm L.5m Wandst.5mm Rl. | 5 Stück
276,90 EUR
55,38 EUR pro Stück
zzgl. 19 % MwSt. zzgl. Versandkosten
In den Warenkorb

Lieferzeit: 1 - 2 Arbeitstage
Art.Nr.: N-8000479356
Gewicht:  0.0 kg


Produktbeschreibung

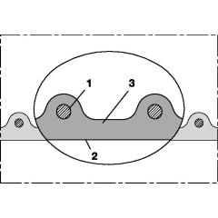
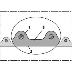
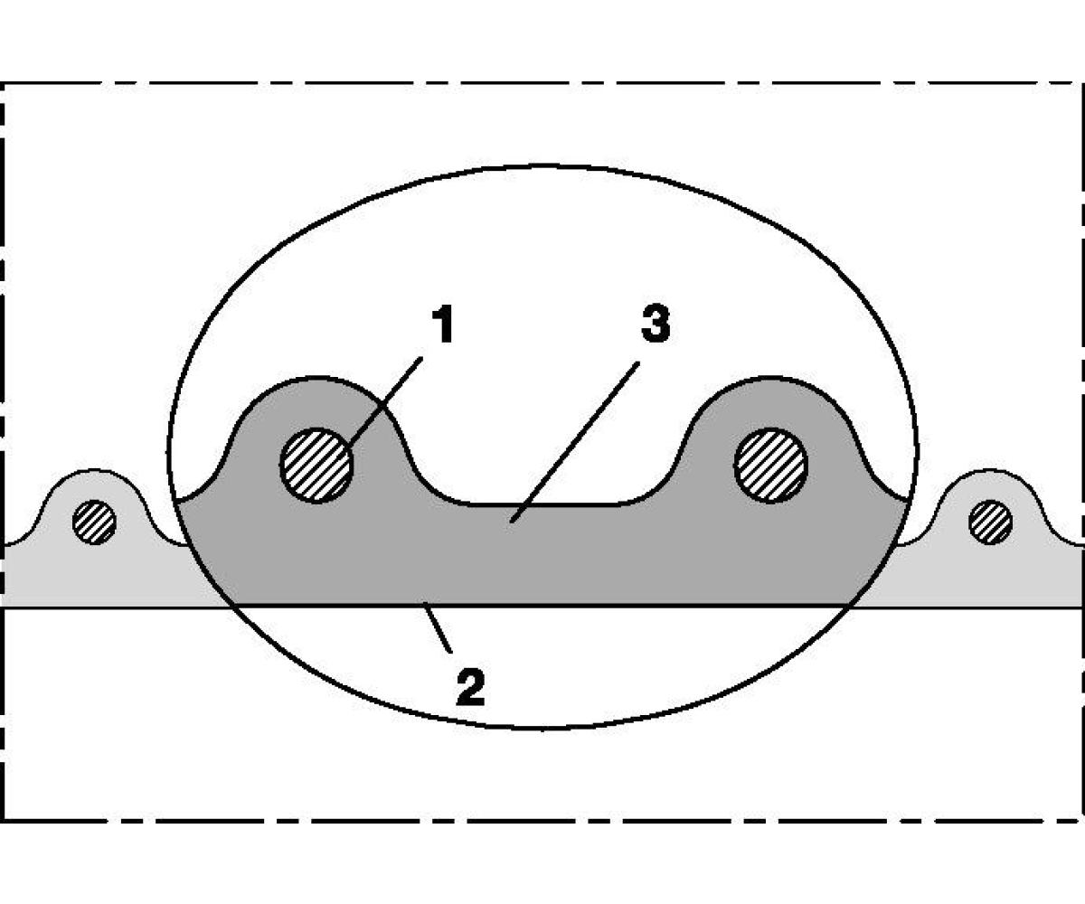
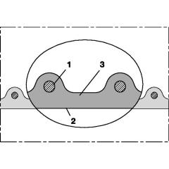
Anwendungen: flexibler Schlauch für hohen Durchsatz an abrasivem Pulver, Schüttgut, Granulat und für Gase, Förderung von trockene und gefrorenen Lebensmittel und Pharmazeutika, Vakuum- und Saugförderer, Dosiersystem, Tablettenpresse, Mischer, Trockner, Verpackungsmaschine, Big-Bag Befüllung/Entleerung, Mühle, Industrie- und Staubsauger, explosionsgefährdeter Bereich, Tierstall: Futtermittelförderung, -anlage und -transport Eigenschaften: schwere Ausführung, hoch abriebfest, erhöhte Druck- und Vakuumfestigkeit, Zulassung nach EU-Verordnung 10/2011 sowie EG 1935/2004 und der neuesten EU-Verordnung 2015/174 durch ein unabhängiges Prüfinstitut für den gesamten Schlauch, Polyurethan lebensmittelecht nach: FDA 21 CFR 177.2600, geruchs- und geschmacksfrei, mikroben- und hydrolysefest, gute Öl-, Benzin- und Chemikalienbeständigkeit, sehr gute Kälteflexibilität, Wandung permanent antistatisch: Durchgangswiderstand und Oberflächenwiderstand Konstruktion: 1. in der Wandung fest eingegossener Federstahldraht, Spirale: Edelstahldraht (INOX), 2. Wandung: permanent-antistatisches Premium Ether-Polyurethan (Pre-PUR ® ), 3. Wandstärke 1,4 - 1,5mm Temperaturbereich: -40 °C bis +90 °C Liefervarianten: weitere Ausführungen, Abmessungen und Längen auf Anfrage lieferbar

Weitere technische Eigenschaften
· Betriebsdruck: 2.3bar · Aggregatzustand: Fest / Gasförmig · Absaug- · u.Förderschl.AIRDUC® · PUR-INOX 355 FOOD-AS ID · Wandst.5mm Rl.NORRES ·

Technische Daten

Wandstärke5 mm
Außen-Ø60,00 mm
Unterdruck0,750 bar
Biegeradius35,00 mm
Überdruck2,300 bar
Gewicht0,66 kg/m
Länge5 m
Tiefsttemperatur-40 °C
Höchsttemperatur90 °C
MarkeNORRES
Innen-Ø (Zoll)2 "
Innen-Ø50-51 mm
AnwendungszweckAbsaug- und Gebläse- und Förderschlauch / Abrasive Medien / Lebensmittelschlauch
Angaben zur Produktsicherheit - Hier klicken für mehr Infos

Norres Schlauchtechnik GmbH · Am Stadthafen 12-18 · 45881 Gelsenkirchen · Deutschland · info@norres-baggerman.com

Diesen Artikel haben wir am 05.09.2025 in unseren Katalog aufgenommen.

Schnellkauf

Bitte geben Sie die Artikelnummer aus unserem Katalog ein.

Willkommen zurück!
Hersteller
Versandland